연말정산은 근로자가 1년간 받은 총 급여에 대해 각종 소득공제 및 세액공제 적용 후 최종 국가에 내야 하는 세금을 계산하는 작업입니다.
급여 서비스의 연말정산은 임직원이 국세청 자료를 다운로드해 업로드할 수 있으며, 추가로 공제 받을 자료도 직접 입력할 수 있습니다. 임직원은 미비한 서류를 자가 점검하여 증빙을 첨부할 수 있으며, 연말정산 담당자는 임직원이 제출한 정보와 증빙을 손쉽게 검토할 수 있습니다.
제출한 연말정산 정보로 가정산한 결과를 바로 확인할 수 있습니다.
연말정산의 흐름은 다음과 같습니다.

세액 계산 방법은 다음 내용을 참고해 주십시오.

연말정산 일정 관리
연말정산과 관련된 모든 일정을 관리할 수 있습니다. 재직자와 퇴사자에 대한 귀속 연도 설정, 증빙 자료 제출 범위 등을 설정할 수 있습니다.
정산 연도 관리
연말정산과 퇴사자의 정산 연도를 각각 1개의 연도로 지정하여 관리할 수 있습니다. 매해 새롭게 수정하여 사용할 수 있습니다.

연말정산 연도를 관리하는 방법은 다음과 같습니다.
- PC웹 오른쪽 상단의 '관리자 메뉴'를 클릭 후, 팝업에서 '급여'를 클릭합니다.
- 화면 왼쪽 상단의
를 클릭합니다. - 메뉴에서 '연말정산 > 연말정산 일정 관리'를 클릭합니다.
- '정산 연도 관리'를 클릭합니다.
- 재직자 및 퇴직자의 연말정산 연도, 국세청 외 증빙 자료 등 정보를 입력한 후 '저장'을 클릭합니다.
- 재직자 연말정산 연도: 진행할 연말정산의 연도를 선택합니다.
- 예: 26년 1월에 진행되는 연말정산은 2025년도 연말정산이므로 2025년을 선택
- 퇴사자 연말정산 연도: 퇴사자의 중도정산을 진행할 귀속 연도를 선택합니다.
- 예: 26년 5월에 퇴사 정산을 진행하면 2026년을 선택
- 근로소득원천징수 의무자: 근로소득 영수증, 소득공제 신고서 출력 시 표시할 원천징수의무자를 회사명 또는 사업장명 중에서 선택합니다.
- 임직원 소득공제 신고서에서 국세청 외 증빙 자료에 대해 체크할 사항: 제출된 증빙 목록 중 연말정산 담당자가 확인할 항목을 선택합니다. 체크된 증빙 항목만 증빙이 등록되었는지를 판단합니다.
- 체크된 증빙 항목에 대하여 증빙 등록으로 자료를 등록하지 않은 경우 연말정산 실행 > 정산 상세(
클릭) 화면의 '7 증빙 목록' 탭에서 미제출 리스트로 조회됩니다. - 체크되지 않은 증빙 항목은 증빙 없이 진행되므로 유의하여 설정합니다.
- 체크된 증빙 항목에 대하여 증빙 등록으로 자료를 등록하지 않은 경우 연말정산 실행 > 정산 상세(
- 재직자 연말정산 연도: 진행할 연말정산의 연도를 선택합니다.
분납월 관리
연말정산 후 징수 세액에 대해 분할 납부할 수 있도록 급여월과 차수를 입력할 수 있습니다.

분납월 설정하는 방법은 다음과 같습니다.
- PC웹 오른쪽 상단의 '관리자 메뉴'를 클릭 후, 팝업에서 '급여'를 클릭합니다.
- 화면 왼쪽 상단의
를 클릭합니다. - 메뉴에서 '연말정산 > 연말정산 일정 관리'를 클릭합니다.
- '분납월 관리' 탭을 클릭합니다.
- 과거 연도부터 분납 일정의 정보가 조회됩니다.
- 필요한 경우, 검색창에서 조회 조건을 입력한 후 '검색'을 클릭합니다.
- 입력한 조건에 해당하는 정산 연도의 분납월 항목이 조회됩니다.
- '추가'를 클릭합니다.
- 분납월 관리 목록에서, 새로 추가된 입력 필드에 정보를 입력한 후 '저장'을 클릭합니다.
- 정산 연도: 입력한 재직자 연말정산 연도를 입력합니다. 연말정산 급여월이 자동으로 입력됩니다.
- 분납 급여월은 '급여 > 급여 > 급여일 관리' 메뉴에 등록되어 있어야 해당 시점에 알맞게 연말정산 추가 납부 항목이 표시됩니다.
급여월이 미리 등록되어 있지 않은 경우, 연말정산 사후 관리 중 정산세액을 급여대장에 반영할 수 없습니다. 급여월을 미리 등록해 주십시오. - 분납 급여월, 급여 차수: 분납을 반영할 급여월의 급여 차수를 입력합니다.
- 분납월이 제대로 설정되었는지 목록에서 확인합니다.
- 설정한 분납월을 삭제하려면 대상 항목에 있는
을 클릭합니다.
- 현재 정산 연도로 설정한 연도만 삭제할 수 있으며, 마감된 정산 연도는 삭제할 수 없습니다.
- 설정한 분납월 관리 목록을 다운로드하려면 '다운로드'를 클릭합니다. 다운로드된 파일은
Downloads폴더에연말정산 일정 관리_연말정산 분납일자_yyyymmdd_hhmmss.xlsx파일명으로 저장됩니다.
- 설정한 분납월을 삭제하려면 대상 항목에 있는
연말정산 완료 후 차감징수세액이 10만 원 이상인 경우 3회로 분할 납부할 수 있습니다.
개인별 분납 여부의 설정은 '내 업무 > 급여 관리> 연말정산 실행' 메뉴에서 임직원이 직접 설정할 수 있습니다.'1.기본 사항' 탭에서 분납 여부를 설정합니다.
신청 일정 관리
임직원이 연말정산 자료를 직접 입력할 수 있는 기간을 관리할 수 있습니다.
임직원은 '내 업무 > 급여 관리 > 연말정산 실행' 메뉴에서 직접 입력할 수 있습니다.

공제 신청 일정을 관리하는 방법은 다음과 같습니다.
- PC웹 오른쪽 상단의 '관리자 메뉴'를 클릭 후, 팝업에서 '급여'를 클릭합니다.
- 화면 왼쪽 상단의
를 클릭합니다. - 메뉴에서 '연말정산 > 연말정산 일정 관리'를 클릭합니다.
- '신청 일정 관리' 탭을 클릭합니다.
- 설정 정보를 입력한 후 '저장'을 클릭합니다.
- 연말정산 메뉴 오픈 기간: 임직원이 연말정산 자료를 입력할 수 있는 기간을 설정합니다.
- 연말정산 메뉴 오픈 기간이 경과되면 임직원이 더 이상 입력할 수 없도록 하는 자동 마감의 역할을 합니다.
- 오픈 기간이 종료되거나 삭제된 경우 '내 업무 > 급여 관리 > 연말정산 실행' 메뉴 접근 시 연말정산 실행 기간이 아님을 안내합니다.
- 자료 입력 증빙 차수 관리: 연말정산 자료 입력 차수를 1~9까지 선택합니다. 대부분 1차수로 관리하며, 증빙을 차수별로 받아야 할 경우에 예외적으로 다른 차수를 등록할 수 있습니다. 마지막 입력 차수가 최종 연말정산에 반영할 자료입니다.
- 연말정산 메뉴 오픈 기간: 임직원이 연말정산 자료를 입력할 수 있는 기간을 설정합니다.
연말정산 결과 공개
연말정산에 대한 검증 완료 후, 마감된 연말정산 결과를 임직원들에게 공개할 수 있습니다. 연말정산 결과를 공개한 후에 사원은 근로소득원천징수영수증을 포함한 해당 연도 내역을 조회할 수 있습니다.

임직원이 근로소득원천징수영수증을 조회할 수 있도록 설정하는 방법은 다음과 같습니다.
- PC웹 오른쪽 상단의 '관리자 메뉴'를 클릭 후, 팝업에서 '급여'를 클릭합니다.
- 화면 왼쪽 상단의
를 클릭합니다. - 메뉴에서 '연말정산 > 연말정산 일정 관리'를 클릭합니다.
- '연말정산 결과 공개' 탭을 클릭합니다.
- 연도 및 연말정산 종류에 따른 대상자 정보 중 연말정산 단계가 '마감'인 대상자가 조회됩니다.
- 관리자는 '연말정산 > 연말정산 실행'에서 임직원의 연말정산 내역을 검증 후 마감할 수 있습니다. '연말정산 > 연말정산 실행'에서 마감을 해제하면 연말정산 결과 공개 목록에서 조회되지 않습니다.
- 진행 상태: 연말정산 진행 상황이 '마감'으로 조회됩니다.
- Draft: 근로소득영수증에 Draft표시 여부를 확인할 수 있습니다.
- 임직원이 근로소득원천징수영수증 조회 시 'Draft' 표기가 표시될 수 있습니다. 'Draft' 표기의 설정은 연말정산 실행을 참고해 주십시오.
- 공개 여부: 대상자별 공개 여부 상태를 확인할 수 있습니다.
- 공개: 임직원은 '내 업무 > 급여 관리 > 연말정산 조회' 메뉴에서 해당 연도 연말정산 결과를 확인할 수 있습니다.
- 공개 안 함: 연말정산 결과를 임직원이 조회할 수 없습니다. 연말정산을 마감 해제 시 '공개 안 함'으로 자동 변경됩니다.
- 연도 및 연말정산 종류에 따른 대상자 정보 중 연말정산 단계가 '마감'인 대상자가 조회됩니다.
- 필요한 경우, 검색창에서 조회 조건을 입력한 후 '검색'을 클릭합니다.
- 입력한 조건에 해당하는 대상자가 조회됩니다.
- 조회 목록에서 연말정산 결과를 공개할 대상자를 선택 후 '공개'를 클릭합니다.
- 조회 목록을 다운로드하려면 대상자를 체크하여 선택한 후 '다운로드'를 클릭합니다. 다운로드된 파일은
Downloads폴더에연말정산 일정 관리_yyyymmdd_hhmmss.xlsx파일명으로 저장됩니다.
- 조회 목록을 다운로드하려면 대상자를 체크하여 선택한 후 '다운로드'를 클릭합니다. 다운로드된 파일은
연 급여 집계
연말정산 급여 자동 집계
재직자의 연말정산에 반영할 과세, 비과세 급여 및 감면 소득 등의 급여를 집계할 수 있습니다.

- PC웹 오른쪽 상단의 '관리자 메뉴'를 클릭 후, 팝업에서 '급여'를 클릭합니다.
- 화면 왼쪽 상단의
를 클릭합니다. - 메뉴에서 '연말정산 > 연 급여 집계'를 클릭합니다.
- '연말정산 급여 자동 집계' 탭을 클릭합니다.
- 정산 연도에서 설정한 연도의 연말정산 대상자 목록이 조회됩니다.
- 정산 연도에 등록된 급여가 하나도 없는 사원은 대상자 목록에서 조회되지 않습니다.
- 필요한 경우, 검색창에서 조회 조건을 입력한 후 '검색'을 클릭합니다.
- 입력한 조건에 해당하는 대상자가 조회됩니다.
- 조회 목록에서 대상자를 체크하여 선택한 후 연말정산 급여 자동 집계를 설정합니다.
- 조회 목록을 다운로드하려면 대상자를 체크하여 선택한 후 '다운로드'를 클릭합니다. 다운로드된 파일은
Downloads폴더에연 급여 집계_연급여 집계_연말정산 급여 자동 집계_yyyymmdd_hhmmss.xlsx파일명으로 저장됩니다. - 연말정산을 새로 시작하려면 '초기화 및 자동 집계'를 클릭합니다.
- '초기화 및 자동집계'를 클릭하여 진행 단계를 '대기'로 설정하면 임직원이 '연말정산 실행' 메뉴에서 연말정산을 진행할 수 있게 됩니다.
- 급여만 변경된 경우 '급여만 재집계'를 클릭합니다. 이때, 입력된 연말정산의 내용은 초기화되지 않으므로 임직원이 입력 또는 제출한 증빙은 지워지지 않습니다. 연말정산 진행 단계는 대기로 변경됩니다.
- 진행 단계: 임직원이 입력한 진행 단계 또는 급여 담당자가 입력, 검토를 진행한 단계를 확인할 수 있습니다.
- 진행 단계는 '대기 > 기본 사항 > 연소득 > 부양가족 > 국세청 파일 > 공제 항목 1(각 소탭마다 표기) > 공제 항목 2(각 소탭마다 표기, 주택관련 공제 항목은 주택자금으로 표시) > 증빙 목록 > 정산 내역 > 마감' 순으로 표시됩니다.
- 임직원이 제출을 완료하면 진행 단계는 '정산 내역'으로 표시됩니다.
- 급여 집계 여부: 급여 집계를 완료하면 'Y'로 변경됩니다.
- 급여 집계 여부의 상태가 'N'이면 진행 단계도 '대기'로 조회되며, 이는 연말정산의 정보가 입력된 상태가 아닙니다. 이 경우에는 초기화 및 자동 집계만 선택할 수 있습니다.
- 조회 목록을 다운로드하려면 대상자를 체크하여 선택한 후 '다운로드'를 클릭합니다. 다운로드된 파일은
진행 단계가 대기 외의 다른 진행 단계로 진입한 경우, '초기화 및 자동 집계'를 클릭하면 기 입력된 연말정산 정보가 초기화됩니다.
진행 단계를 확인하여 '초기화 및 자동 집계' 또는 '급여만 재집계'를 클릭합니다.
'신청 일정 관리' 메뉴에서 설정한 날짜가 되어도 연 급여 집계가 완료되어야 '내 업무 > 급여 관리 > 연말정산 실행' 메뉴에서 연말정산의 정보를 입력할 수 있는 화면이 조회됩니다.
퇴사자 정산 급여 자동 집계
연중에 퇴사한 임직원의 정산에 반영할 과세, 비과세 급여 및 감면 소득 등의 급여를 집계할 수 있습니다.
중도 퇴사자의 정산인 경우 기본으로 공제되는 항목(본인, 국민연금료, 건강보험료, 고용보험료)으로만 정산합니다.
- PC웹 오른쪽 상단의 '관리자 메뉴'를 클릭 후, 팝업에서 '급여'를 클릭합니다.
- 화면 왼쪽 상단의
를 클릭합니다. - 메뉴에서 '연말정산 > 연 급여 집계'를 클릭합니다.
- '퇴사자 정산 급여 자동 집계' 탭을 클릭합니다.
- 정산 연도에서 설정한 연도의 퇴사자가 대상자 목록에 조회됩니다.
- 필요한 경우, 검색창에서 조회 조건을 입력한 후 '검색'을 클릭합니다.
- 입력한 조건에 해당하는 대상자가 조회됩니다.
- 조회 목록에서 대상자를 선택한 후 연말정산 급여 자동 집계를 설정합니다.
- 조회 목록을 다운로드하려면 대상자를 선택한 후 '다운로드'를 클릭합니다. 다운로드된 파일은
Downloads폴더에연 급여 집계_연급여 집계_퇴사자 정산 급여 자동 집계_yyyymmdd_hhmmss.xlsx파일명으로 저장됩니다. - 연말정산을 새로 시작하려면 '초기화 및 자동 집계'를 클릭합니다.
- 급여만 변경된 경우 '급여만 재집계'를 클릭합니다. 이때, 입력된 연말정산의 내용은 초기화되지 않으며, 연말정산 진행 단계는 대기로 변경됩니다.
- 진행 단계: 급여 담당자가 입력, 검토를 진행한 단계를 확인한 수 있습니다.
- 진행 단계는 '대기 > 기본 사항 > 연소득 > 부양가족 > 국세청 파일 > 공제 항목 1(각 소탭마다 표기) > 공제 항목 2(각 소탭마다 표기, 주택관련 공제 항목은 주택자금으로 표시) > 증빙 목록 > 정산 내역 > 마감' 순으로 표시됩니다.
- 증빙을 완료하면 진행 단계는 정산 내역으로 표시됩니다.
- 급여 집계 여부: 급여 집계를 완료하면 'Y'로 변경됩니다.
- 급여 집계 여부의 상태가 'N'이면 진행 단계도 '대기'로 조회되며, 이는 연말정산의 정보가 입력된 상태가 아닙니다. 이 경우에는 초기화 및 자동 집계만 선택할 수 있습니다.
- 조회 목록을 다운로드하려면 대상자를 선택한 후 '다운로드'를 클릭합니다. 다운로드된 파일은
퇴사자 정산 전 4대 보험 정산을 마친 후 퇴사자 연말정산을 하여야 정확한 보험료 공제가 가능합니다. '급여 > 급여 입력' 메뉴에서 중도 퇴사자의 건강/고용보험료 정산 진행 및 급여 대장 반영을 먼저 진행하세요. (건강 및 고용보험 정산 참고)
연말정산 조정 급여 관리
매월 급여 지급 시 포함하지는 않았으나, 연말정산에 합산해야 하는 과세소득(비과세 포함) 및 각종 공제액을 입력할 수 있습니다. (예: 복지포인트 등)
이때 급여월은 99차로 입력되어야 불러올 수 있습니다. 99차 급여월에 대한 설명은 급여일 관리의 급여월 차수에 대한 참고를 확인해 주십시오.
연말정산 조정 급여를 관리하는 방법은 다음과 같습니다.
- PC웹 오른쪽 상단의 '관리자 메뉴'를 클릭 후, 팝업에서 '급여'를 클릭합니다.
- 화면 왼쪽 상단의
를 클릭합니다. - 메뉴에서 '연말정산 > 연 급여 집계'를 클릭합니다.
- '연말정산 조정 급여 관리' 탭을 클릭합니다.
- 연말정산 조정 급여 관리의 급여월과 차수는 정산 연도의 '12월 99차'로 기본 설정되어 조회됩니다.
- 필요한 경우, 검색창에서 조회 조건을 입력한 후 '검색'을 클릭합니다.
- 입력한 조건에 해당하는 대상자가 조회됩니다.
- 조회 결과 목록에서 대상자를 선택해 연말정산 조정 급여를 관리해 주십시오.
- 급여 항목의 금액을 추가하려면 조회 목록에서 대상 항목에 있는
을 클릭한 후 급여 입력 화면에서 해당 항목에 금액을 입력한 다음 '저장'을 클릭합니다. - 조회된 목록을 다운로드하려면 '다운로드'를 클릭합니다. 다운로드된 파일은
Downloads폴더에연 급여 집계_연말정산 조정 급여 관리_yyyymmdd_hhmmss.xlsx파일명으로 저장됩니다.
- 급여 항목의 금액을 추가하려면 조회 목록에서 대상 항목에 있는
12월과 동일한 개념의 차수이기 때문에 비과세를 한꺼번에 입력한 경우, 비과세 한도 적용은 1개월 기준으로 적용됩니다.
예를 들어, 1년치 식대 비과세를 240만 원으로 조정 급여에 입력한다면, 비과세는 12월 한 달분의 20만 원만 식대 비과세로 인정됩니다. 나머지 220만 원은 과세로 인정되므로 비과세 적용을 받을 급여는 매월 급여에 입력해야 합니다.
업로드할 급여의 급여월과 차수를 추가로 오픈하여 업로드하면, 비과세 한도가 정확히 반영됩니다. 급여의 일괄 업로드 방법은 데이터 불러오기를 참고해 주십시오.
연말정산 조정 급여 관리 팁
연말정산 대상자가 조회되지 않으면, 급여 입력과 동일한 방법으로 진행해 주십시오.
- '급여 > 급여일 관리' 메뉴에서 해당 연도의 12월 99차로 급여일을 오픈합니다.
- '급여 > 대상자 관리' 메뉴에서 조정 급여가 필요한 대상자를 불러오기 또는 추가하여 집계를 마감합니다.
- '급여 > 기초 자료 마감' 메뉴의 각 탭에서 집계를 마감합니다.
- '급여 > 연말정산 > 연 급여 집계' 메뉴의 '연말정산 조정 급여 관리' 탭에서 대상자를 조회할 수 있습니다.
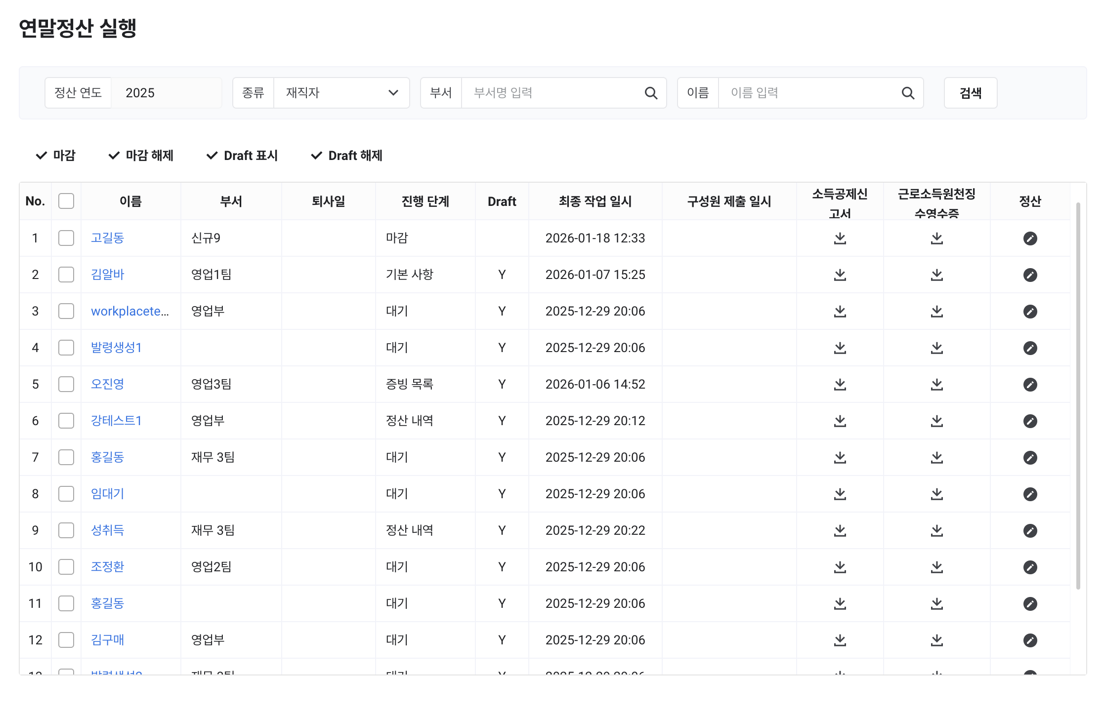
연말정산 실행
입력된 임직원(재직자, 퇴직자)의 연말정산 정보를 전반적으로 검토하거나, 관리자가 임직원의 대신 연말정산을 실행할 수 있습니다.

- PC웹 오른쪽 상단의 '관리자 메뉴'를 클릭 후, 팝업에서 '급여'를 클릭합니다.
- 화면 왼쪽 상단의
를 클릭합니다. - 메뉴에서 '연말정산 > 연말정산 실행'을 클릭합니다.
- '연말정산 > 연말정산 일정 관리' 메뉴의 '정산 연도 관리' 탭에서 설정한 정산 연도가 자동으로 세팅되며, '연말정산 > 연 급여 집계' 메뉴에서 급여 집계가 완료된 대상자가 조회됩니다.
- 임직원이 소득공제 신고서를 제출하면 최종 작업 일시와 구성원 제출 일시의 시간이 동일하게 보이나, 연말정산 담당자가 수정하면 최종 작업 일시로 시간이 바뀌게 됩니다.
이때, 임직원이 연말정산 정보를 수정하여 다시 제출하면 최종 작업 일시와 구성원 제출 일시가 다시 동일하게 보이게 됩니다.
- 필요한 경우, 검색창에서 조회 조건을 입력한 후 '검색'을 클릭합니다.
- 입력한 조건에 해당하는 대상자가 조회됩니다.
- 조회 결과 목록에서 대상자를 선택해 연말정산 마감 여부 등 관리해 주십시오.
- 마감: 연말정산 입력 또는 검토가 완료된 후 더 이상 수정이 불가능하도록 설정할 수 있습니다.
- 진행 단계가 '정산 내역'인 대상자만 마감할 수 있습니다.
- 마감된 대상자에게만 연말정산 결과가 공개되도록 설정할 수 있습니다.('연말정산 일정 관리 > 연말정산 결과 공개' 메뉴)
- 마감 해제: 마감 이후, 연말정산의 정보를 변경해야 할 경우 '마감 해제'를 클릭하여 수정할 정보를 입력합니다.
- 연말정산 내역을 마감 해제 시 임직원에게 공개되지 않으므로 마감 후 다시 공개해 주십시오.
- Draft 표시, Draft 미표시: 근로소득원천징수영수증 조회 시 Draft 표시의 노출 여부를 선택할 수 있습니다.
- 연말정산이 종료된 후에도 Draft 표시를 해제하지 않은 경우 '급여 > 급여 세무 서식 조회' 메뉴에서 근로소득원천징수영수증 발급 기능을 사용해 출력 시에도 'Draft'가 표시됩니다.
- 최종적으로 홈택스를 통해 지급명세서 전산 매체 제출을 완료한 후에 'Draft 해제'를 클릭하여 해제해야 합니다.

- 소득공제 신고서: 입력된 소득공제 신고서를 PDF 형식의 파일로 조회하고 출력할 수 있습니다.
- 근로소득원천징수영수증: 근로소득원천징수영수증을 PDF 형식의 파일로 조회하고 출력할 수 있습니다.
- 정산: 임직원이 입력한 연말정산의 정보를 수정 또는 검토하거나, 급여 담당자가 임직원의 연말정산 정보를 직접 입력할 수 있습니다.
- 연말정산 정보를 수정하려면 해당 대상자 항목에 있는
을 클릭한 후 수정해 주십시오. 임직원이 연말정산 정보를 입력하는 중인 경우 해당 진행 단계로 이동되므로 '기본 사항' 탭으로 이동하여 진행해 주십시오.
- 연말정산 정보를 수정하려면 해당 대상자 항목에 있는
- 마감: 연말정산 입력 또는 검토가 완료된 후 더 이상 수정이 불가능하도록 설정할 수 있습니다.
'DRAFT' 표시의 의미
연말정산이 최종 확정되기 전까지 예상 결과로 최종 결과가 아님을 표현하는 의미로 사용합니다.
최종 연말정산 전산 매체를 제출한 후에는 DRAFT를 해제하여 사용 및 발급해 주십시오.
정산
연말정산 방법은 다음과 같습니다.
- PC웹 오른쪽 상단의 '관리자 메뉴'를 클릭 후, 팝업에서 '급여'를 클릭합니다.
- 화면 왼쪽 상단의
를 클릭합니다. - 메뉴에서 '연말정산 > 연말정산 실행'을 클릭합니다
- 필요한 경우, 검색창에서 조회 조건을 입력한 후 '검색'을 클릭합니다.
- 입력한 조건에 해당하는 대상자가 조회됩니다.
- 연말정산을 실행할 대상자에 있는 항목에 있는
을 클릭한 후 수정합니다.
- 비활성화 필드는 임직원(근로자)이 수정할 수 없으므로 이 부분이 오류로 기재되어 있다면 급여 담당자가 수정해야 합니다.
- 연말 정산 단계를 차례대로 설정한 후 '저장'을 클릭합니다.
- '1. 기본 사항' 탭부터 순차적으로 진행해 주십시오.
- 탭 간 이동은 탭 영역 우측 상단의 '이전' 또는 '다음'을 클릭합니다.
- 추가: 국세청에서 제공하는 자료 외에 추가로 등록해야 하는 내용은 '추가'를 클릭하여 입력합니다.
- 증빙 등록: 내역별 증빙 자료는 '증빙 등록'을 클릭하여 등록해 주십시오. 국세청 간소화 파일 외의 증빙 자료만 등록해야 합니다. 필수 증빙 미등록의 경우 '7. 증빙 목록' 탭의 미제출 리스트에서 확인할 수 있습니다.
- 저장: 수정 및 추가 입력 완료 후 하단에 '저장'이 표시될 수 있으며, 내용 저장 필요 시 클릭합니다.
- 정산 단계는 다음과 같습니다.
1. 기본 사항
임직원의 정보가 조회됩니다. 연말정산의 기본 사항을 입력한 후 '저장'을 클릭합니다.

- 국적: 선택한 임직원의 국적을 입력합니다.
- 거주 구분: 거주자 또는 비거주자를 선택합니다. 선택에 따라서 연말정산 소득공제(세액공제)의 범위가 변경됩니다.
- 거주지국: 거주자인 경우 KR-한국으로 선택됩니다. 비거주자일 경우 거주지국을 선택합니다.
- 외국 법인 파견 근로자: 외국 법인 파견 근로자일 경우 예로 선택합니다.
- 표준세액공제: 세액이 작은 경우 표준세액공제 적용, 무조건 표준세액공제 적용, 표준세액공제 안함 중 선택합니다.
기본으로 세액이 작은 경우 표준세액공제 적용이 선택됩니다. 표준세액공제란 근로소득자로서 특별소득공제, 특별세액공제 및 월세액 세액공제를 신청하지 아니한 사람에 대해서 연 13만원을 종합소득산출세액에서 공재하는 것을 의미합니다.
기본 값 외의 다른 값을 선택하면 연말정산 세액이 과대하게 적용될 수 있습니다. - 단일 세율 적용: 외국인일 경우 단일 세율 적용의 방법을 선택합니다. 내국인일 경우 '단일 세율 적용 안 함'이 기본으로 설정됩니다.
- 무조건 단일 세율 적용: 세율의 비교 없이 단일 세율을 적용합니다.
- 세액이 작은 경우 단일 세율 적용: 일반 세율과 비교하여 단일 세율의 세액이 적을 경우 단일 세율을 적용합니다. 적은 세액을 납부할 경우 선택합니다.
- 세액이 많은 경우 단일 세율 적용: 일반 세율과 비교하여 단일 세율의 세액이 많을 경우 단일 세율을 적용합니다. 많은 세액을 납부할 경우 선택합니다.
- 단일 세율 적용 안 함: 세율의 비교 없이 단일 세율을 적용하지 않고, 일반 세율을 적용합니다.
- 분납 신청: 분납 신청을 선택합니다. 분납 신청을 한 경우 납부액이 10만 원 이상인 임직원들은 3회로 분납할 수 있습니다. (분납은 2, 3, 4월 급여에서 공제됩니다.)
- 무주택자 여부: 주민등록표 등본상 같이 살고 있는 동거가족(주민등록 등본상 별도로 구성된 배우자는 포함) 명의의 보유 주택을 합산하여 판단합니다. 무주택은 '예', 유주택은 '아니오'를 선택합니다.
- 세대주 여부: 주택자금 공제 대상을 확인할 수 값입니다. 주택마련저축의 경우 세대주의 배우자인 근로자도 공제를 받을 수 있으므로 상황에 알맞게 선택합니다.
- 당년 근무 시작/종료일: 당해 연도의 근무 기간입니다. 당해 중도 입사자는 입사일이 시작일이며, 전 직장을 입력한 후에는 전 직장의 기간이 포함되어 표기됩니다.
- 예: 현 직장 2025.09.08~2025.12.31, 전 직장 2025.06.01~2025.08.31일 경우, 2025.06.01~2025.12.31로 표기
)
- 예: 현 직장 2025.09.08~2025.12.31, 전 직장 2025.06.01~2025.08.31일 경우, 2025.06.01~2025.12.31로 표기
- 회사명/사업자등록번호/근무 시작일/감면 시작일/감면 종료일: 현 직장의 정보가 표시됩니다.
- 근무월: 당년 근무 시작/종료일에 따라서 근무월이 자동으로 선택됩니다.
- 전 직장 또는 합산해야 할 직장이 있으면, '전직장 추가'를 클릭하여 전 근무지의 정보를 입력합니다.
- 입력한 전 직장을 삭제하려면 '삭제'를 클릭합니다.
2. 연 소득
현 직장의 소득액을 조회하고 전 직장의 소득을 입력할 수 있습니다. 등록된 급여대장을 바탕으로 과세, 비과세, 공제액이 합산되어 제공됩니다.
현 직장의 소득액을 확인하고, 전 직장의 소득을 입력한 후 '저장'을 클릭합니다.
- 현직장 탭: 클릭하면 연말정산에 필요한 현 직장의 지급, 공제 소득이 집계됩니다.
- 자료의 추가 또는 수정은 이미 지급된 급여월과 차수의 수정이 아닌, '급여 > 연말정산 > 연 급여 집계'의 '연말정산 조정 급여 관리' 탭에서 수정하는 것을 권장합니다.
- 국세청 외 증빙 자료를 업로드하려면 '증빙 등록'을 클릭합니다.
- 자료의 추가 또는 수정은 이미 지급된 급여월과 차수의 수정이 아닌, '급여 > 연말정산 > 연 급여 집계'의 '연말정산 조정 급여 관리' 탭에서 수정하는 것을 권장합니다.
- 전직장 탭: '1. 기본 사항' 탭에 입력된 전 직장의 수에 맞게 전 직장 탭이 생성되며, 전 직장을 선택하면 회사명과 근무 기간이 조회됩니다. 선택한 전 직장의 자료를 입력합니다.
- 전 근무지명과 기간은 1.기본 사항에서 입력된 정보를 화면 우측에 표시합니다.
- 각 소득 및 공제 항목별 '추가'를 클릭한 후 연소득 입력 팝업창에서 전 직장에서 발급받은 근로소득원천징수영수증의 금액을 입력한 다음 '저장'을 클릭합니다.
- 종류: 입력할 과세 급여, 공제 급여, 비과세 급여, 감면소득의 종류를 선택합니다.
- 항목: 선택한 종류에 따라 항목을 선택할 수 있습니다.
- 금액: 선택한 항목의 금액을 입력합니다.
- 전 직장에서 발급받은 근로소득원천징수영수증 등 증빙 자료를 업로드하려면 '증빙 등록'을 클릭합니다.
3. 부양 가족
임직원의 정보와 연말정산 시 부양 가족으로 공제할 기본 공제 대상자의 정보를 등록합니다.
웍스 급여에서 연말정산을 처음 진행하는 경우 본인만 조회되며, 첫 해에는 인사 서비스의 사원 정보에 등록된 가족 정보를 가져올 수 있습니다.

부양 가족을 등록하는 방법은 다음과 같습니다.
- '불러오기'를 클릭해 인사 서비스에 등록되어 있는 가족 정보를 불러와 주십시오.
- 불러오기로 연말정산을 진행한 경우, 다음 해 연말정산부터는 부양가족의 정보가 자동으로 조회되며 '추가'만 표시됩니다.
불러온 부양 가족의 정보를 수정할 수 있습니다. 부양 가족의 '수정'을 클릭한 후, 팝업창에서 정보를 반드시 확인 및 정확한 정보로 수정해 주십시오. 부양 가족의 정보가 정확해야 소득공제 항목도 정확하게 반영될 수 있습니다.
- '추가'를 클릭하여 추가할 부양 가족을 입력한 후 '저장'을 클릭합니다.
- 건강보험법상 피부양자와 연말정산의 소득공제 대상 부양가족은 다르니 반드시 공제 조건을 확인한 후 등록해 주십시오.
- 기본공제를 받지 않고 소득공제(신용카드 및 의료비 등)만 받는 경우에도 부양가족에 등록해야 합니다.
- 등록된 부양가족 정보를 수정하려면 해당 대상에 있는
을 클릭합니다. - 등록된 부양가족 정보를 삭제하려면 해당 대상에 있는
을 클릭합니다.
- 근로자 본인이 부녀자 공제 또는 한부모 공제에 해당하는 경우 상단의 '입력'을 클릭한 후, 부녀자/한부모 공제 신청 팝업창에서 정보를 입력한 다음 '저장'을 클릭합니다.
- 팝업 상단의 내용 확인 후 공제 항목을 선택합니다. 부녀자 공제와 한 부모 공제는 동시에 받을 수 없으므로 하나만 선택할 수 있습니다.
- 부녀자 공제를 적용받을 수 없는 남성은 부녀자/한부모 공제 신청 팝업에서 '부녀자 공제' 항목은 표시되지 않습니다.
- 부양가족 중 직계비속의 배우자가 장애인인 경우 상단의 해당 '입력'을 클릭한 후, 직계비속(기타) 특정 장애인 등록 팝업창에서 정보를 입력한 다음 '저장'을 클릭합니다.
- 관계 코드를 5.직계비속(기타) 로 입력해야 특정 장애인으로 등록할 수 있습니다.
- 연소득이 100만원을 초과하는 직계비속 자녀 중, 취업 전 교육비를 소득자가 부담한 경우 상단의 '입력'을 클릭한 후, 취업전 교육비 공제 등록 팝업창에서 공제 대상을 선택한 다음 '저장'을 클릭합니다.
- 관계 코드를 4.직계비속(자녀,입양자)로 입력해야 취업 전 교육비를 등록할 수 있습니다.
- 2024년 이후 혼인신고한 거주자는 결혼세액공제를 생애 1회 받을 수 있습니다. 상단의 결혼 공제 '입력'을 클릭한 후, 결혼 공제 신청 여부를 선택한 다음 '저장'을 클릭합니다.
- 회사에서 지급한 근로소득에 포함된 출산지원금은 전액 비과세됩니다. 출산 지원금을 받은 경우 출산지원금 '입력'을 클릭한 후, 대상 자녀와 지원금액을 입력하여 출산지원금 비과세 적용 명세서를 제출해야합니다.
- 2023.01.01 이후 출산 및 입양한 직계비속이 있는 경우 '추가' 버튼이 표시됩니다.
- 출산지원금 지급일, 회사명, 차수, 대상 자녀를 선택하고 금액을 입력합니다.
- 전직장에서 출산지원금을 받았다면, '2.연소득'에서 전직장 비과세소득으로 등록 후 출산지원금 팝업에서 자녀 정보를 입력합니다.
- 올해 두 번 출산하여 산후조리원을 두 번 이용한 경우, 산후조리원 '입력'을 클릭한 후, 공제 한도 상향 여부를 예로 선택하여 '저장'합니다.
- 목록에는 여성 근로자와 부양가족이 모두 표시되나 산후조리원을 이용하지 않은 경우 수정할 필요가 없습니다.
- 의료비에 산후조리원 비용이 입력되지 않으면 공제 한도가 적용되지 않습니다.
- '증빙 등록'을 클릭해 부양가족과의 관계를 증명할 수 있는 주민등록등본, 가족관계증명서, 장애인 증명서, 혼인관계증명서 등을 등록합니다.
4. 국세청 파일
홈택스에서 내려받은 연말정산 간소화 파일을 등록하여 손쉽게 연말정산 정보를 입력할 수 있습니다. 간소화 파일은 자동으로 '공제 항목1', '공제 항목2' 탭 내용으로 입력됩니다.
'간소화 파일 등록'을 클릭하여 업로드할 간소화 파일을 선택합니다. 선택과 동시에 저장됩니다.
- 간소화 파일에 포함된 소득 초과자로 표시된 부양가족의 연소득 정보가 '2.연소득' 탭에서 소득100만원 이하로 등록되어 있다면 자동으로 소득 100만원 초과자로 변경됩니다.
- 소득 100만원 초과자는 기본 공제, 경로 우대 공제, 장애인 공제를 받을 수 없습니다.
- 소득 100만원 초과자라도 보험료, 의료비, 교육비는 조건에 따라 공제될 수 있습니다.

- 간소화 파일을 등록하면 '간소화 파일 다운로드', '간소화 파일 자료 조회' 버튼이 표시됩니다.
- 업로드한 간소화 파일을 다운로드하려면 '간소화 파일 다운로드'를 클릭합니다.
- 업로드한 간소화 파일 자료 내용을 조회하려면 '간소화 파일 자료 조회'를 클릭합니다.
- 업로드한 간소화 자료는 임직원과 급여 담당자(관리자) 모두 수정할 수 없습니다. 간소화 파일을 재 등록 시 최종 정보로 반영 됩니다.
5. 공제 항목1
업로드한 국세청 간소화 파일 내용을 확인하거나 보험료, 의료비, 교육비, 신용카드, 기부금을 입력할 수 있습니다.
'보험료', '의료비', '교육비', '신용카드', '기부금' 탭을 클릭해 공제 금액을 입력합니다.

- '보험료' 탭: 업로드한 간소화 파일의 보험료 자료가 조회됩니다.
- '추가'를 클릭한 후 새로 추가된 필드에 보험료를 추가 입력합니다.
- 수정 가능: '추가'를 클릭해 입력할 경우 수정 가능이 'Y'로 변경됩니다.
- 보험 종류: 입력할 보험료의 종류에 따라 '보장성,' '지역건강', '지역국민연금', '장애인 보장성' 중에서 해당 보험을 선택합니다.
- 원천: 자료 원천을 국세청 또는 기타 중에서 선택합니다. 일반 보험 회사에서 발급 받은 자료는 기타로 선택합니다.
- 계약자: 증명서상 계약자를 선택합니다.
- 주피보험자 등: 증명서상 주피보험자 또는 (종)피보험자 등을 선택합니다.
- 금액: 납입금액을 입력합니다.
- 공제 대상이 아닌 보험료를 삭제하려면 해당 항목에 있는
을 클릭합니다.
- 국세청 자료는 수정할 수 없으며 삭제만 가능합니다.
- 수정 및 추가 입력이 완료되면, 공제 신청 대상자의 공제 신청 항목에 체크한 후 하단의 '저장'을 클릭합니다. '공제 신청'을 선택하지 않은 부양가족의 지출금액은 공제되지 않습니다.
- '추가'를 클릭한 후 새로 추가된 필드에 보험료를 추가 입력합니다.

- '의료비' 탭: 업로드한 국세청 간소화 파일의 의료비 자료가 부양가족별로 합산되어 조회됩니다.
- 증빙 등록: '증빙 등록'을 클릭해 의사 소견서 등의 증빙자료를 등록합니다. 국세청 간소화 파일 외의 증빙자료만 등록해야 합니다.
- 수정하려면 목록에서 대상 항목에 있는
을 클릭합니다. - 국세청에서 제공하는 자료 외에 추가로 의료비를 등록하려면 '추가'를 클릭한 후 새로 추가된 필드에 정보를 입력합니다.
- 증빙 종류: 입력할 의료비 납입영수증을 '국세청 의료비 자료', '국민건강보험공단 명세서', '진료비/약제비 계산서', '장기 요양급여비용', '기타 의료비' 중 선택합니다.
- 자료 코드: 입력할 의료비 자료의 코드를 선택합니다.
- 난임 시술 의료비, 미숙아, 선천성이상아 의료비, 폐업기관 의료비 등은 간소화 자료에 포함되어 있지 않을 수 있으므로 별도 등록합니다.
- 지급처 상호, 사업자 번호: 입력할 의료비의 지급처와 사업자번호를 입력합니다. 국세청 자료인 경우, 지급처 상호와 지급처 사업자 번호를 입력하지 않아도 됩니다.
- 건수: 건수를 입력합니다.
- 지출액: 의료비 납입금액을 입력합니다.
- 실손보험금: 실손보험 회사에서 받은 실손 보험 금액을 입력합니다. 실손보험금은 피보험자 기준으로 부양가족에 대해 각각 입력합니다.
- 올해 의료비보다 많은 금액을 실손 보험금으로 지급받은 경우 실손 보험금을 조정하여 실 공제 대상 금액을 0원으로 반영하세요.
- 대상자의 의료비 상세보기 화면에서 공제 대상이 아닌 의료비 항목을 삭제하려면 해당 항목의
을 클릭합니다. - 국세청 자료는 수정할 수 없으며 삭제만 가능합니다.
- 수정 및 추가 입력이 완료되면, 공제 신청 대상자의 '공제 신청' 항목에 체크한 후 하단의 '저장'을 클릭합니다. '공제 신청'을 선택하지 않은 부양가족의 지출금액은 공제되지 않습니다.

- '교육비' 탭: 업로드한 국세청 간소화 파일의 교육비 자료가 부양가족별로 합산되어 조회됩니다.
- 수정하려면 목록에서 대상 항목에 있는
을 클릭합니다. 업로드한 국세청 간소화 파일의 자료가 조회됩니다.
- 국세청에서 제공하는 자료 외에 추가로 교육비 내역을 등록하려면 '추가'를 클릭한 후 새로 추가된 필드에 정보를 입력합니다.
- 원천: 자료 원천을 '국세청' 또는 '기타' 중에서 선택합니다. 국세청에서 발급한 간소화 자료인 경우는 '국세청'으로 선택하고, 기타 기관에서 발급한 자료를 입력할 경우에는 '기타'로 입력합니다.
- 학교 종류: 학교 종류를 '취학전 아동', '초중고', '대학교', '장애인', '대학원', '직업훈련', '공제대상 아님' 중에서 선택합니다.
- 비용 종류: 비용 종류를 '수업료 등', '직업훈련비', '교복구입비', '체험학습비', '학자금상환', '대입전형료/수능응시료' 중에서 선택합니다.
- 납입 금액: 납입액을 입력합니다.
- 배제액: 배제액을 입력합니다.
- 공제 대상이 아닌 교육비 항목을 삭제하려면 해당 항목의
을 클릭합니다.
- 국세청 자료는 수정할 수 없으며 삭제만 가능합니다.
- 수정 및 추가 입력이 완료되면, 공제 신청 대상자의 공제 신청 항목에 체크한 후 하단의 '저장'을 클릭합니다. 공제 신청을 체크하지 않은 부양가족의 지출금액은 공제되지 않습니다.
- 수정하려면 목록에서 대상 항목에 있는

- '신용카드' 탭: 업로드한 국세청 간소화 파일의 신용카드 자료가 부양가족별로 합산되어 조회됩니다.
- 수정하려면 목록에서 대상 항목에 있는
을 클릭합니다. 업로드한 국세청 간소화 파일의 자료가 조회됩니다.
- 국세청에서 제공하는 자료 외에 추가로 신용카드 내역을 등록하려면 '추가'를 클릭한 후 새로 추가된 필드에 정보를 입력합니다.
- 입력 구분: 국세청 간소화 파일 외의 수기 입력은 입력 구분이 수동 입력으로 선택됩니다.
- 원천: 자료 원천을 '국세청' 또는 '기타' 중에서 선택합니다. 국세청에서 발급한 간소화 자료인 경우는 '국세청'으로 선택하고, 카드 회사 등에서 발급한 자료를 입력할 경우에는 '기타'로 입력합니다.
- 카드 종류: 신용카드 종류를 '신용카드', '직불카드', '현금영수증' 중에서 선택합니다.
- 사용 종류: 사용 종류를 '일반 사용', '전통시장 사용분', '대중교통 이용분', '문화체육' 중에서 선택합니다.
- '주택임차료'는 카드 종류가 '현금영수증'일 때만 선택할 수 있습니다.
- 사용 금액: 사용액 합계를 입력합니다.
- 차감액: 차감액을 입력합니다. (예: 회사비용을 개인 신용카드 등으로 사용한 경우)
- 공제 대상이 아닌 신용카드 항목을 삭제하려면 해당 항목의
을 클릭합니다.
- 국세청 자료는 수정할 수 없으며 삭제만 가능합니다.
- 수정 및 추가 입력이 완료되면, 공제 신청 대상자의 공제 신청 항목에 체크한 후 하단의 '저장'을 클릭합니다. 공제 신청을 체크하지 않은 부양가족의 지출금액은 공제되지 않습니다.
- 수정하려면 목록에서 대상 항목에 있는

- '기부금' 탭: 부양가족 기준으로 국세청 간소화 자료 합계 금액이 조회됩니다.
- 이월액 추가: 공제받지 못한 기부금 금액은 일정 기간 동안 이월되어 공제받을 수 있습니다. 당해에 입사하여 전 직장의 기부금 이월액이 있거나 종합소득세 신고 시 기부금의 변동내용이 있다면 이월액을 다시 입력해야 합니다.
'이월액 추가'를 클릭한 후 이월액 추가 팝업 창에서 이월액을 입력한 후 '저장'을 클릭합니다.- 기부 연도: 입력할
- 이월액의 신청 연도를 2015~2024년도 중에서 선택합니다. 연도별로 각각 입력해야 합니다.
- 기부 유형: 기부금 유형을 '특례기부금', '정치자금', '일반기부금(종교단체외)', '일반기부금(종교단체)', '우리사주조합', '고향사랑 기부금(일반)', '고향사랑 기부금(특별재난)' 중에서 선택합니다.
- 기부 금액: 기부금 신청액을 입력합니다.
- 종소신고로 추가된 기부금액: 종합소득 신고로 추가된 기부 금액을 입력합니다.
- 기 공제액: 이미 공제된 금액을 입력합니다.
- 공제 대상 금액: 입력한 내용을 기초로 전 연도까지 공제받지 못한 이월 기부 금액이 계산됩니다.
- 기부금을 새로 추가하려면 '추가'를 클릭한 후 새로 추가된 필드에 정보를 입력합니다.
- 종소신고 공제액 추가: 종합소득 신고 공제액을 추가할 수 있습니다. '종소신고 공제액 추가'를 클릭한 후 종소 신고 공제액을 입력합니다.
- 이월액을 조회하려면 '이월액 조회'를 클릭합니다.
- 올해 세액 감면, 공제 등으로 기부금 한도 초과가 있을 경우 특례 기부금과 일반 기부금은 자동으로 이월되며 내년도 연말정산 시 추가 공제 받을 수 있습니다.
- 기부금 증빙 자료를 업로드하려면 '증빙 등록'을 클릭합니다.
- 수정하려면 목록에서 대상 항목에 있는
을 클릭합니다. 업로드한 국세청 간소화 파일의 자료가 조회됩니다.
- 국세청에서 제공하는 자료 외에 추가로 기부금 내역을 등록하려면 '추가'를 클릭한 후 새로 추가된 필드에 정보를 입력합니다.
- 원천: 자료 원천을 국세청 또는 기타 중에서 선택합니다.
- 기부 유형: 기부 유형을 '특례기부금, 정치자금, 일반기부금(종교단체외), 일반기부금(종교단체), 우리사주조합, 고향사랑 기부금(일반), 고향사랑 기부금(특별재난)' 중에서 선택합니다.
- 기부 내용: 기부 내용을 현금 또는 현물 중에서 선택합니다.
- 기부처 사업자 번호, 기부처명: 기부처의 사업자 번호와 기부처명을 입력합니다. 정치자금 기부금의 경우, 입력하지 않아도 됩니다.
- 건수: 기부 건수를 입력합니다.
- 공제 대상 기부금: 공제 대상 기부금을 입력합니다.
- 기부 장려금 신청액: 기부 장려금 신청액을 입력합니다.
- 기부금 합계: 공제 대상 기부금과 기부장려금 신청액의 합계액이 자동 표기됩니다.
- 공제 대상이 아닌 기부금을 삭제하려면 해당 항목의
을 클릭합니다.
- 수정 및 추가 입력이 완료되면, 공제 신청 대상자의 공제 신청 항목에 체크한 후 하단의 '저장'을 클릭합니다. 공제 신청을 체크하지 않은 부양가족의 지출금액은 공제되지 않습니다.
- 이월액 추가: 공제받지 못한 기부금 금액은 일정 기간 동안 이월되어 공제받을 수 있습니다. 당해에 입사하여 전 직장의 기부금 이월액이 있거나 종합소득세 신고 시 기부금의 변동내용이 있다면 이월액을 다시 입력해야 합니다.
6. 공제 항목2
연금저축, 주택임차차입금, 장기 주택 저당차입금, 주택 마련 저축, 월세액, 기타, 외납세액을 입력하거나 국세청 간소화 파일로 업로드된 내용을 확인할 수 있습니다.
'연금저축', '주택임차차입금', '장기주택저당차입금', '주택마련저축', '월세액', '기타', '외납세액' 탭을 클릭해 공제 금액을 입력합니다.

- '연금저축' 탭: 업로드한 국세청 간소화 파일의 자료가 조회됩니다. 근로자 본인의 개인연금저축, 연금저축, 근로자 퇴직급여 보장법(퇴직연금), 과학기술인 공제, 장기집합투자증권저축을 입력할 수 있습니다.
- 공제 구분별 한도가 다르므로 소득공제 구분을 정확하게 선택합니다.
- 소득공제 구분을 '청년형 장기집합투자증권저축'으로 선택한 경우, 가입 일자와 계약 기간을 반드시 입력합니다.
- 수정하려면 목록에서 대상 항목에 있는
을 클릭합니다. - 국세청 자료는 수정할 수 없으며 삭제만 가능합니다.
- 근로자 본인이 지출한 금액만 공제되므로 부양가족의 내역이 등록되었을 경우에는 삭제합니다.
연금저축과 퇴직연금 입력 시 ISA 계좌 만기전환 순납입금액이 포함되어 있는 경우, 소득공제 구분을 연금액과 ISA 계좌 만기전환 순납입금액을 분리해 입력합니다.<예시>근로자 퇴직급여 보장법을 선택하고 2,000,000원으로 입력합니다. ISA에서 퇴직연금(IRP)로 이전을 선택하고 1,000,000원으로 입력합니다.


- '주택임차차입금' 탭: 업로드한 국세청 간소화 파일의 자료가 조회됩니다.
- 국세청 자료는 대출기관 등에서 제공한 데이터를 그대로 보여주므로 해당 항목의 공제 대상 여부는 설문지뿐만 아니라 제출된 서류 등을 확인하여 적용해야 합니다.
- '1. 기본 사항' 탭에서 무주택자 여부를 '예'로 선택한 경우 입력할 수 있습니다.
- 대출기관 추가: 공제받고자 하는 내역이 국세청의 자료로 등록되지 않은 경우, 주택자금 상환 증명서를 대출기관에서 발급받아 대출 내용을 입력할 수 있습니다.
'대출기관 추가'를 클릭한 후 대출 내용 입력 후 '설문지 작성'을 클릭하여 설문지를 작성합니다. 전년도 자료 비교를 위해 필수 값이 아니더라도 가능한 모든 값을 입력합니다. 설문지 작성을 완료한 후 '저장'을 클릭합니다. - 거주자간 추가: 총 급여액이 5천만원 이하인 근로자가 대부업 등을 경영하지 않는 거주자로 부터 차입한 경우 대출 내용을 입력할 수 있습니다.
'거주자간 추가'를 클릭한 후 대출 내용 입력 후 '설문지 작성'을 클릭하여 설문지를 작성합니다. 전년도 자료 비교를 위해 필수 값이 아니더라도 가능한 모든 값을 입력합니다. 설문지 작성을 완료한 후 '저장'을 클릭합니다. - 증빙 등록: 설문지 작성이 완료되면 팝업창의 하단에 제출 서류가 표기됩니다. 제출 서류를 확인한 후 '주택임차차입금' 탭 화면에서 '증빙 등록'을 클릭해 제출해야 할 서류를 등록합니다.
- 증빙 목록
- 주택자금 상환 증명서 (국세청 간소화 서비스로 대체 가능)
- 주민등록표 등본
- 임대차 계약서 사본
- 설문지 체크 항목에서 안내에서 설명한 서류(대상자에 한함)
- 수정하려면 조회 목록에서 대상 항목에 있는
을 클릭합니다. 수정한 경우에는 설문지도 다시 작성해야 합니다. - 국세청 자료는 수정할 수 없으며 삭제만 가능합니다.
- 공제 대상이 아닌 항목을 삭제하려면 해당 항목에 있는
을 클릭합니다. - 업로드한 국세청 자료에 대한 설문지 작성은 조회 목록에서 대상 항목에 있는
을 클릭합니다.
설문지 작성:설문지를 작성해야 신청한 주택자금을 공제받을 수 있는지 다시 확인할 수 있습니다. 국세청 자료로 업로드한 경우에도 해마다 설문지를 작성해야 하며, 설문지는 대출 건마다 작성해야 합니다.
'설문지 작성'을 클릭한 후 설문지 작성 화면에서 순서대로 질문의 답을 클릭합니다.
- 질문의 답변이 소득공제 대상이 되는 답과 일치할 경우 질문이 계속 보이며, 마지막에 필요한 구비 서류의 목록이 보입니다.
- 더 이상 설문지가 진행되지 않을 경우 예시

- 더 이상 설문지가 진행되지 않을 경우 예시
- 설문지가 완료된 경우 예시

- 질문의 답변 중 소득공제 대상이 되는 답과 불일치할 경우, '공제 대상이 아닙니다.'의 문구가 표시되고 설문을 완료할 수 없습니다.
- 설문지를 수정 또는 재작성해야 할 경우, 저장 전에는 '이전'을 클릭한 후 다시 '설문지 작성'을 클릭한 다음 설문지를 새로 작성합니다. 저장 후에는 수정할 대상에 있는 '수정'을 클릭한 후 설문지를 새로 작성합니다.
- 설문지를 조회하려면 '상세 보기'를 클릭합니다. 조회한 설문지는 수정할 수 없습니다.


- '장기 주택 저당차입금' 탭: 업로드한 국세청 간소화 파일의 자료가 조회됩니다.
- 국세청 자료는 대출기관 등에서 제공한 자료를 그대로 보여주므로 해당 항목의 공제 대상 여부는 설문지뿐만 아니라 제출된 서류 등을 확인하여 적용해야 합니다.
- 국세청 자료 중 일부 필수 데이터가 누락된 경우 (ex. 주택 취득일) 국세청 자료를 삭제하고 수기로 입력하시기 바랍니다.
- 추가: 공제받고자 하는 내역이 국세청의 자료로 등록되지 않은 경우, 장기 주택 저당차입금 이자상환 증명서를 대출기관에서 발급받아 대출 내용을 입력할 수 있습니다. 대출이 2건 이상인 경우 각각 입력해야 합니다.
'추가'를 클릭한 후 대출 내용 입력 후 '설문지 작성'을 클릭하여 설문지를 작성합니다. 설문지 작성 완료한 후 '저장'을 클릭합니다. - 증빙 등록: 설문지 작성이 완료되면 팝업창의 하단에 제출 서류가 표기됩니다. 제출 서류를 확인한 후 '장기주택저당차입금' 탭 화면에서 '증빙 등록'을 클릭해 제출해야 할 서류를 등록합니다.
- 증빙 목록
- 장기 주택 저당차입금 이자상환 명세서(국세청 간소화 서비스로 대체 가능하며, 채무자가 공동명의인 경우 채무 분담비율을 확인할 수 있는 서류)
- 주민등록표 등본
- 건물등기부등본 또는 분양 계약서
- 개별주택 가격 확인서 또는 공동주택 가격 확인서
- 대출 계약서 사본(대출 상품 변경(또는 대환)자만 해당되며, 변경 전과 변경 후 계약서 사본 모두 제출)
- 수정하려면 목록에서 대상 항목에 있는
을 클릭합니다. 수정한 경우에는 설문지도 다시 작성해야 합니다. - 설문지 작성에 대한 내용은 '공제 항목2 > 주택 임차 차입금' 탭의 참고를 확인해 주십시오.
- 설문지를 조회하려면
을 클릭합니다. 조회한 설문지는 수정할 수 없습니다. - 국세청 자료는 수정할 수 없으며 삭제만 가능합니다.
- 공제 대상이 아닌 항목을 삭제하려면 해당 항목에 있는
을 클릭합니다.
- 국세청 자료는 대출기관 등에서 제공한 자료를 그대로 보여주므로 해당 항목의 공제 대상 여부는 설문지뿐만 아니라 제출된 서류 등을 확인하여 적용해야 합니다.

- '주택 마련 저축' 탭: 업로드한 국세청 간소화 파일의 자료가 조회됩니다.
- 국세청 자료는 대출기관 등에서 제공한 자료를 그대로 보여주므로 해당 항목의 공제 대상 여부는 설문지뿐만 아니라 제출된 서류 등을 확인하여 적용해야 합니다.
- 추가: 총 급여 7천만원 이하인 무주택 세대주 및 세대주의 배우자는 공제받고자 하는 내역이 국세청의 자료로 등록되지 않은 경우, 주택 마련 저축 납입 증명서를 금융기관에서 발급받아 내용을 입력합니다. 저축이 2건 이상인 경우 각각 입력해야 합니다.
'추가'를 클릭한 후 대출 내용 입력 후 '설문지 작성'을 클릭하여 설문지를 작성합니다. 설문지 작성 완료한 후 '저장'을 클릭합니다. - 증빙 등록: 설문지 작성이 완료되면 팝업창의 하단에 제출 서류가 표기됩니다. 제출 서류를 확인한 후 '주택마련저축' 탭 화면에서 '증빙 등록'을 클릭해 제출해야 할 서류를 등록합니다.
- 증빙 목록
- 주택 마련 저축 납입 증명서 (국세청 간소화 서비스로 대체 가능)
- 수정하려면 목록에서 대상 항목에 있는
을 클릭합니다. 수정한 경우에는 설문지도 다시 작성해야 합니다. - 설문지 작성에 대한 내용은 '공제 항목2 > 주택임차차입금' 탭의 참고를 확인합니다.
- 설문지를 조회하려면
을 클릭합니다. 조회한 설문지는 수정할 수 없습니다. - 국세청 자료는 수정할 수 없으며 삭제만 가능합니다.
- 공제 대상이 아닌 항목을 삭제하려면 해당 항목에 있는
을 클릭합니다.

- '월세액' 탭: 업로드한 국세청 간소화 파일의 자료가 조회됩니다.
- 월세액의 경우 국세청 간소화 자료보다 기타의 자료가 더 많이 있으므로 임대차 계약서의 내용을 입력해야 합니다. 해당 항목의 공제 대상 여부는 설문지뿐만 아니라 제출된 서류 등을 확인하여 적용해야 합니다.
- '1.기본 사항' 탭에서 무주택자 여부를 '예'로 선택한 경우 입력할 수 있습니다.
- 추가: 무주택 세대의 세대주로서 총 급여 8천만원 이하인 근로자가 공제받고자 하는 내역이 국세청의 자료로 등록되지 않은 경우 임대차 계약서 내용을 입력할 수 있습니다. 2건 이상의 월세는 각각 입력해야 합니다.
'추가'를 클릭한 후 월세 내용 입력 후 '설문지 작성'을 클릭하여 설문지를 작성합니다. 설문지 작성 완료한 후 '저장'을 클릭합니다. - 예: 월세액을 증액한 경우, 이사로 인하여 임대차 계약서가 2건인 경우
- 임대차 계약서의 내용을 확인하여 해당되는 내용을 모두 입력합니다.
- 1.1 ~ 12.31까지의 임차 기간 동안 지출한 월세액을 입력합니다. 단, 관리비가 포함되어 있는 경우 관리비는 제외해 주십시오.
- 연 중 이사하거나 월세액이 변경된 경우 연간 총 금액을 일수로 환산하여 등록합니다.
- 공제 대상 월세액 계산식: 월세액 12 해당 연도 임차 일수 / 365 (또는 366일)
- 증빙 등록: 설문지 작성이 완료되면 팝업창의 하단에 제출 서류가 표기됩니다. 제출 서류를 확인한 후 주택마련저축 탭 화면에서 '증빙 등록'을 클릭해 제출해야 할 서류를 등록합니다.
- 증빙 목록
- 주민등록표 등본
- 임대차 계약서 사본
- 현금영수증, 계좌이체 영수증, 무통장 입금증 등 주택임대인에게 월세액을 지급하였음을 증명하는 서류
- 수정하려면 목록에서 대상 항목에 있는
을 클릭합니다. 수정한 경우에는 설문지도 다시 작성해야 합니다. - 설문지 작성에 대한 내용은 '공제 항목2 > 주택임차차입금' 탭의 참고를 확인합니다.
- 설문지를 조회하려면
을 클릭합니다. 조회한 설문지는 수정할 수 없습니다. - 국세청 자료는 수정할 수 없으며 삭제만 가능합니다.
- 공제 대상이 아닌 항목을 삭제하려면 해당 항목에 있는
을 클릭합니다.

- '기타' 탭: 업로드한 국세청 간소화 파일의 자료가 조회됩니다. 소상공인 공제부금, 우리사주조합 출연금, 고용유지 중소기업 근로자, 투자조합 출자를 입력할 수 있습니다.
- 항목별 추가 버튼을 클릭하여 공제 내용을 입력합니다.
- 소상공인 공제부금 추가: 자료 원천을 확인하고, 금액과 가입일을 입력합니다.
- 우리사주조합출연금 추가: 자료 원천을 확인하고, 금액을 입력합니다.
- 고용유지중소기업 근로자 추가: 자료 원천을 확인하고, 금액을 입력합니다.
- 투자조합출자 추가: 자료 원천을 확인하고, 투자조합출자 구분 및 투자 구분, 금융기간 등 정보를 입력합니다.
- 수정하려면 목록에서 대상 항목에 있는
을 클릭합니다. - 공제 대상이 아닌 항목을 삭제하려면 해당 항목에 있는
을 클릭합니다.
- '외납세액' 탭: 해외에서 받은 소득에 대해 해외에서 납부한(또는 납부할) 세액이 있는 경우, 납부세액을 입력할 수 있습니다.
- 추가: '추가'를 클릭한 후 외납세액 입력 팝업창에서 정보를 입력한 후 '저장'을 클릭합니다.
7. 증빙 목록
제출한 증빙과 미제출한 증빙의 리스트가 조회됩니다.

- 증빙 등록: 미제출 자료는 하단의 '증빙 등록'을 클릭해 등록할 수 있습니다.
- 증빙 등록 팝업창에서 업로드할 자료의 항목과 대상자를 선택하여 파일을 첨부한 후 '확인'을 클릭합니다.
- 임직원이 등록한 증빙 자료에 대해 급여 관리자가 검토한 후, 추가 등록을 요청할 수 있습니다.
- 미제출 증빙 자료의 관리는 '연말정산 > 연말정산 일정 관리' 메뉴의 정산 연도 관리를 참고해 주십시오.
- 제출된 자료를 다운로드하려면 '다운로드'를 클릭합니다.
- 제출된 서류에 오류가 있거나 재등록이 필요한 경우 해당 항목에 있는
을 클릭해 삭제한 후 다시 등록해 주십시오. - 미제출된 증빙 자료는 '증빙 등록'을 클릭하여 첨부할 수 있습니다.
8. 정산 내역
'정산 내역' 탭에서 제출된 자료를 기준으로 정산된 내역을 확인할 수 있습니다.
- 정산 내역을 다운로드하려면 '다운로드'를 클릭합니다.
연말정산 사후 관리
연말정산 서류 제출의 종료일이 임박하거나 미비서류 제출을 안내하는 메일을 발송하거나 임직원의 연말정산 차감 세액을 급여대장에 반영할 수 있습니다.
서류미비자 안내 메일 발송
연말정산 서류 제출의 종료일이 임박하거나, 미비서류 제출을 안내하는 메일을 발송할 수 있습니다.
서류 미비자에게 안내 메일을 발송하는 방법은 다음과 같습니다.
- PC웹 오른쪽 상단의 '관리자 메뉴'를 클릭 후, 팝업에서 '급여'를 클릭합니다.
- 화면 왼쪽 상단의
를 클릭합니다. - 메뉴에서 '연말정산 > 연말정산 사후 관리'를 클릭합니다.
- '서류미비자 안내 메일 발송' 탭을 클릭합니다.
- 연말정산 대상자의 진행 단계와 최종 작업 일시가 조회됩니다.
- 필요한 경우, 검색창에서 조회 조건을 입력한 후 '검색'을 클릭합니다.
- 검색한 조건에 맞는 대상자가 조회됩니다.
- 조회 목록에서 발송 대상자를 선택한 후 '메일 발송'을 클릭합니다.
- 메일 발송 팝업 창에서 발송할 메일 내용의 구분을 확인하여 선택한 후 '메일 발송'을 클릭합니다.
- 알림성 메일이므로 사원에게 상세 증빙을 요청할 경우에는 별도의 메일로 전달해 주십시오.
정산세액 급여대장 반영
임직원의 연말정산 차감 세액을 급여대장에 반영할 수 있습니다.
연말정산 마감 후 현 재직자뿐만 아니라 퇴사자에 대해서도 수시로 확인하여 급여 차수에 반영할 수 있습니다.

정산 세액을 급여대장에 반영하는 방법은 다음과 같습니다.
- PC웹 오른쪽 상단의 '관리자 메뉴'를 클릭 후, 팝업에서 '급여'를 클릭합니다.
- 화면 왼쪽 상단의
를 클릭합니다. - 메뉴에서 '연말정산 > 연말정산 사후 관리'를 클릭합니다.
- '연말정산세액 급여대장반영' 탭을 클릭합니다.
- 연말정산을 마감한 임직원이 조회됩니다.
- 직원이 분납 신청을 한 경우 임직원 분납 신청에 '예' 또는 '아니오'로 조회됩니다.
- 연말정산 후 차감징수세액이 환급인 경우에는 임직원이 분납 신청을 했더라도 2월 급여월과 차수에 환급 세액 전액이 반영됩니다.
- 필요한 경우, 검색창에서 조회 조건을 입력한 후 '검색'을 클릭합니다.
- 검색한 조건에 맞는 대상자가 조회됩니다.
- 조회 목록에서 급여대장 반영 대상자를 선택한 후 '급여대장에 기록'을 클릭합니다.
- 급여일 및 차수를 선택합니다.
- 선택한 급여월과 차수에 정산 세액이 반영됩니다.
- 이때, 분납신청을 한 임직원이 없어도 정산액(분할납부)을 기록할 급여일과 차수가 미리 설정되어야 합니다.
- 예: 25년도 연말정산은 26년도 2월, 3월, 4월의 급여일과 차수 설정
- 급여일과 차수의 설정은 '급여 > 급여일 관리' 메뉴에서 설정할 수 있습니다.
- 공제 코드가 소득세정산(T2), 지방소득세 정산(R2), 농특세 정산(F2)으로 설정되어야 합니다.
- 급여 코드의 확인 및 설정은 '급여 > 설정 > 코드 관리' 메뉴의 '급여 코드 관리' 탭에서 할 수 있습니다.
연말정산 조회
연말정산의 내용을 검토하는 과정에서 보고서 형태로 활용할 수 있도록 조회할 수 있습니다.
연말정산 내용을 조회하는 방법은 다음과 같습니다.
- PC웹 오른쪽 상단의 '관리자 메뉴'를 클릭 후, 팝업에서 '급여'를 클릭합니다.
- 화면 왼쪽 상단의
를 클릭합니다. - 메뉴에서 '연말정산 > 연말정산 조회'를 클릭합니다.
- '연말정산 일정 관리 > 연말정산 결과 공개'에서 공개한 임직원 목록이 조회됩니다.
- 필요한 경우, 검색창에서 조회 조건을 입력한 후 '검색'을 클릭합니다.
- 조회 목록에서 연말정산 조회 대상자를 체크하여 선택합니다.
- 목록 위에 있는 드롭다운 메뉴를 클릭해 조회할 연말정산 보고서 종류를 선택한 후 '조회'를 클릭합니다.
- 조회된 내역을 엑셀 파일로 다운로드할 수 있습니다.
- 제공되는 명세는 다음과 같습니다.
- 차감징수세액 및 보험료(근로소득원천징수영수증)
- 차감징수세액(급여대장)
- 원천징수영수증-소득명세, 소득명세(가로형), 정산명세
- 소득공제신고서-기본사항, 인적사항, 소득공제, 전 직장정보, 전 직장 소득, 보험료, 교육비, 신용카드, 기타
- 별지명세-연금저축, 의료비, 월세액, 임대차계약내용
- 기부금명세서-해당 연도 기부명세, 구분코드별 합계, 기부금조정명세
- 출산지원금명세서
- 부녀자 공제
- 감면소득
- 주택자금공제 신청 현황
연말정산 세무서식 조회
임직원의 소득공제 신고서나 근로소득원천징수영수증을 다운로드하여 조회할 수 있습니다.
기타 서식
연말정산 결과가 공개된 임직원의 소득공제 신고서를 PDF 형식의 파일로 다운로드할 수 있습니다.
연말정산 기타 세무서식을 조회하는 방법은 다음과 같습니다.
- PC웹 오른쪽 상단의 '관리자 메뉴'를 클릭 후, 팝업에서 '급여'를 클릭합니다.
- 화면 왼쪽 상단의
를 클릭합니다. - 메뉴에서 '연말정산 > 연말정산 세무서식 조회'를 클릭합니다.
- '기타 서식' 탭을 클릭합니다.
- '연말정산 일정 관리 > 연말정산 결과 공개'에서 공개한 임직원 목록이 조회됩니다.
- 필요한 경우, 검색창에서 조회 조건을 입력한 후 '검색'을 클릭합니다.
- 조회 목록에서 연말정산 기타 세무서식 조회 대상자를 체크하여 선택한 후 '소득공제신고서 조회'를 클릭합니다.
- 선택한 조회 내역이 PDF 형식의 파일로 다운로드됩니다.
근로소득원천징수영수증
임직원의 근로소득원천징수영수증을 다운로드하거나 출력할 수 있습니다.
근로소득원천징수영수증을 다운로드하거나 출력하는 방법은 다음과 같습니다.
- PC웹 오른쪽 상단의 '관리자 메뉴'를 클릭 후, 팝업에서 '급여'를 클릭합니다.
- 화면 왼쪽 상단의
를 클릭합니다. - 메뉴에서 '연말정산 > 연말정산 세무서식 조회'를 클릭합니다.
- '근로소득원천징수영수증' 탭을 클릭합니다.
- '연말정산 일정 관리 > 연말정산 결과 공개'에서 공개한 임직원 목록이 조회됩니다.
- 필요한 경우, 검색창에서 조회 조건을 입력한 후 '검색'을 클릭합니다.
- 조회 목록에서 근로소득원천징수영수증 조회 대상자를 체크하여 선택한 후 '근로소득원천징수영수증 출력'을 클릭합니다.
- 근로소득원천징수영수증 출력 팝업창에서 출력 옵션을 선택한 후 '근로소득원천징수영수증 출력'을 클릭합니다.
- 선택한 조회 내역이 PDF 형식의 파일로 다운로드됩니다.
- 다운받은 영수증 파일 내 Draft 표시 여부는 '연말정산 > 연말정산 실행' 메뉴에서 설정할 수 있습니다.
연말정산 세무 신고
국세청 홈택스 신고용 지급명세서와 지급조서 제출 내역을 엑셀 파일로 다운로드할 수 있습니다.
지급명세서
국세청 홈택스로 제출된 지급명세서를 미리보기하거나 평문 다운로드하여 신고할 수 있습니다.
지급명세서의 제출 방법은 그 외 소득 세무신고를 참고해 주십시오.
국세청 홈택스 신고용 지급명세서를 다운받는 방법은 다음과 같습니다.
- PC웹 오른쪽 상단의 '관리자 메뉴'를 클릭 후, 팝업에서 '급여'를 클릭합니다.
- 화면 왼쪽 상단의
를 클릭합니다. - 메뉴에서 '연말정산 > 연말정산 세무신고'를 클릭합니다.
- '지급명세서' 탭을 클릭합니다.
- 연말정산을 마감한 임직원의 목록이 조회됩니다.
- 필요한 경우, 검색창에서 조회 조건을 입력한 후 '검색'을 클릭합니다.
- 조회 목록에서 지급명세서 제출 조회 대상자를 선택한 후 '미리 보기'를 클릭해 신고 전에 내용을 확인해 주십시오.
- 지급명세서 미리 보기 팝업창에서 정보를 입력한 후 '다운로드'를 클릭합니다.
- 다운로드된 미리보기 파일은 레코드별로 저장되어 레코드별 구분하여 확인할 수 있습니다.
- 조회된 목록에서 신고 대상자를 선택한 후 '평문 다운로드'를 클릭합니다.
- 지급명세서 평문 다운로드 팝업창에서 제출 정보를 입력한 후 '다운로드'를 클릭합니다.
- 국세청 홈텍스에 제출할 수 있는 전산매체 파일로 지급명세서 파일이 다운로드됩니다.
소득자료제출집계표
지급조서 제출 내역을 엑셀 파일로 다운로드하는 방법은 다음과 같습니다.
- PC웹 오른쪽 상단의 '관리자 메뉴'를 클릭 후, 팝업에서 '급여'를 클릭합니다.
- 화면 왼쪽 상단의
를 클릭합니다. - 메뉴에서 '연말정산 > 연말정산 세무신고'를 클릭합니다.
- '소득자료제출집계표' 탭을 클릭합니다.
- 연말정산을 마감한 임직원의 목록이 조회됩니다.
- 필요한 경우, 검색창에서 조회 조건을 입력한 후 '검색'을 클릭합니다.
- 조회 목록에서 지급조서 제출 내역 대상자를 선택한 후 '소득자료제출집계표 다운로드'를 클릭합니다.
- 소득자료제출집계표 다운로드 팝업창에서 다운로드 옵션을 선택한 후 '다운로드'를 클릭합니다.
- 선택한 조회 내역이 엑셀 파일로 다운로드됩니다.

- 선택한 조회 내역이 엑셀 파일로 다운로드됩니다.